1.800.466.1905

sales@ibcmars.com

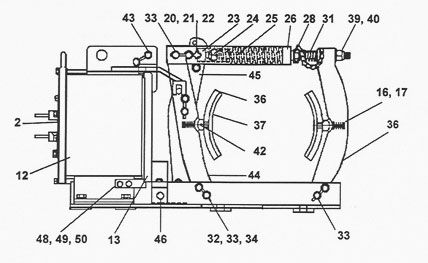
Square D
ECEM Type WB, 5, 10, 20, 22, 30, 40, 50, 60
Class 5010 Type T WB, 8", 10", 13", 16", 19", 23", 30"
Class 5010 Type F, 8", 10", 13", 16", 19", 23", 30"

Class 5010 8" Type F Series A
Class 5010 8" Type F Series A

Item
OEM Part
Description

1
2
6
7
8
12
13
14
15
16
20
21
22
23
24
25
26
27
28
31
32
33
36
37
38
39
42
43
44
45
46
47
48
60
62
63
68
71
72
73
74
75
76
77
78
80
*

50903-134-01
50903-143-01
50903-167-01
50903-166-01
29206-00430
50903-102-50
50903-121-50
29005-40240
50903-140-50
50901-010-13
50903-407-04
29907-02410
50901-010-09
50903-117-50
W-10045
50901-010-12
50903-137-50
50903-141-01
50904-136-50
50901-010-11
50903-401-11
50903-402-03
50903-101-50
50903-808-51
50903-127-50
50903-411-50
50903-404-03
50903-401-10
50903-129-50
50903-119-50
50903-115-50
50903-401-12
50903-139-01
50903-805-51
50903-158-01
29013-02120
29005-24121
50903-164-50
50903-160-01
50903-415-01
50906-165-50
21601-24660
50901-003-01
50904-154-50
50904-161-01
29005-32221
50903-809-51

Lifting Bracket
Magnet Case Cover Assembly
Terminal Shield
Leading Bushing
"O" Ring
Base and Magnet Case Assembly
Armature
Bearing
Centering Bracket
Centering Bracket Spring
Latch Pin
"E" Ring
Latch Pin Spring
Connecting Rod Assembly
Spring Collar
Operating Spring
Yoke
Calibration Plate
Manual Release Nut
Connecting Rod Spring
Pin
Locking Pin
Shoe Assembly, Includes Lining
Shoe Lining Kit
Outboard Shoe Lever
Nut and Washer Assembly
Lining Wear Indicator
Pin
Inboard Shoe Lever
Connecting Rod Lever
Connecting Link
Pin
Armature Gap Indicator
Self-Adj. Shoe Mechanism Kit
Connecting Rod
Connecting Rod Bearing
Bearing
Crank Assembly
Ratchet Rod
Crank Pin
Ratchet Rod End Block
Socket Head Screw
Spring
Star Wheel Stop Nut Assembly
Ratchet Rod Guide
Oilite Bearing
Assorted Hardware Package

Contact Form